文/瑞财经 李姗姗
有错就改,得力做出了榜样。
近日,一名来自辽宁的女性求职者在社交平台发帖称,自己通过三轮面试拿到得力集团有限公司(下称“得力集团”)HRBP岗位的录用通知,然而在入职报到当天却因走路跛脚而被辞退。
9月底,“得力辞退跛脚员工”的话题迅速冲上热搜,得力集团第一时间给出正面回应。
公司执行总裁陈雪强连夜致歉,在该帖评论区留言称:“刚获悉此事,非常震惊!代表集团管理层对你表示诚挚的道歉!这与得力的价值观和人文关怀完全不符,我将安排总裁办主任马上联系你,妥善协商处理好此事!对我们的管理缺失再次致歉!”

9月30日下午,得力发布正式致歉声明,表示公司成立了调查小组,查实情况基本属实。执行总裁已经向当事人道歉,总裁办主任当天上午飞去当事人所在城市,想当面沟通。
声明还列出三条整改措施:依规依纪问责涉事人员;重新检查人力资源管理流程中有无歧视性规定;加强员工反歧视培训。

事件曝光的节点,也正处于得力集团转折的关键期:传统文具业务遭遇瓶颈,新业务还在探索阶段。
中国文教体育用品协会的数据显示,2025年上半年,文体用品行业整体亏损面在扩大,文教办公用品制造业的利润总额同比跌超24%。无纸化的办公、教学趋势,正在让文具的使用空间越缩越小。
数据显示,2024年,得力集团以超460亿元的营收规模跻身中国民营企业500强,但公司文具业务收入占比从80%降至不足60%。
为了缓解文具需求萎缩带来的冲击,得力集团搞起了IP联名。今年8月底,得力在全国26个城市举办了28场“超级文具节”快闪活动,一口气推出12个IP合作,包括《哪吒之魔童闹海》《排球少年》《葬送的芙莉莲》《全职高手》等热门IP,文具文创品类突破1000 。
IP合作确实给得力的产品矩阵带来了更大的想象空间,但国产IP文具的热度有时效性,通常三个月就开始往下掉。
不止一位网友在社媒平台上表示联名周边出现破损、鼓包、划痕等情况,有网友直言“联名笔是割韭菜专用吗?”


在黑猫投诉[下载黑猫投诉客户端]平台上,消费者对得力的日常办公和学习用品质量也感到不满,有超过1700条关于“得力”的投诉,大多围绕产品质量品控问题以及客户服务、售后服务等问题。
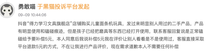
今年9月,有顾客投诉称,在得力官方店铺买的电动卷笔刀不运转,无法使用;线上购买的儿童面条机玩具明显是使用过的二手产品,产品有明显使用和磕碰痕迹;还有消费者买到的84色丙烯马克笔,有两支不出墨,但其补发需求一直得不到解决。目前,上述投诉均在“处理中”状态。



得力集团是一家典型的家族企业,创始人是来自宁波市宁海县的娄甫君、娄甫安两兄弟,时至今日,二人仍控制着集团95%的股权,另外5%股权也由娄氏家族成员娄安君持有。
目前,64岁的娄甫君担任得力集团董事、总经理,魏竹青担任监事,刘金娥为财务负责人。
1981年,20岁的娄甫君和弟弟娄甫安,先是承包宁海辛岭五金厂,加工金属零配件,后捕捉到文具市场的机会,于1988年成立宁海文教用品厂。娄家兄弟注册“得力”商标,1997年,组建宁波得力集团,定位为“文具供应商”。
2004年,娄甫君兄弟进军房地产行业,在浙江宁波、宁海等地投资了多家房地产和酒店管理公司,其中,得力房产在宁海的市占率一度超过80%,宁海县甚至被当地民间戏称为“得力县”。
近两年,得力地产仍然在积极拿地,从2024年至今一共拍下了宁波和湖州的7宗地块,投入金额超过38亿元。2024年,得力以48.5亿元销售额跃居宁波市场第8位。
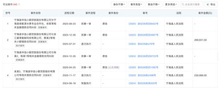
此外,娄甫君还将资本版图扩展至金融领域。天眼查显示,得力集团对外投资企业中,有一家名为宁海县华信小额贷款股份有限公司(下称“华信小贷”),该公司成立于2008年12月,注册资本2亿元,由得力集团持有24%股权,为第一大股东。
截至目前,华信小贷存在涉及的司法案件345条,其中92.5%为原告,涉及借款合同纠纷、借贷纠纷等,不难看出,华信小贷正陷入“追债忙”的局面。

今年6月,得力又跨界入局新能源家用充电桩。6月22日,得力推出旗下首款家用新能源充电桩,额定功率7kW,适配小米、特斯拉等多个品牌的主流车型,并有多种版本供消费者选择。裸机价979元起,含安装套餐价1669元起,较市场同类产品低40%以上。


